任天堂が、ゲームパッド付き据置機に関する新たな特許を申請していたことが判明 新型WiiUか、それとも・・・?

カテゴリ任天堂
NX: ゲムパ付「据置機」の特許が申請が公開。光学メディアなしのnew Wii Uか?
http://ameblo.jp/seek202/entry-12064453492.html
記事によると任天堂は『据置』コンソールの特許を出願していた模様だ。最近になってUSPTOで発見されたもので、NXに関するものだと考えられている。
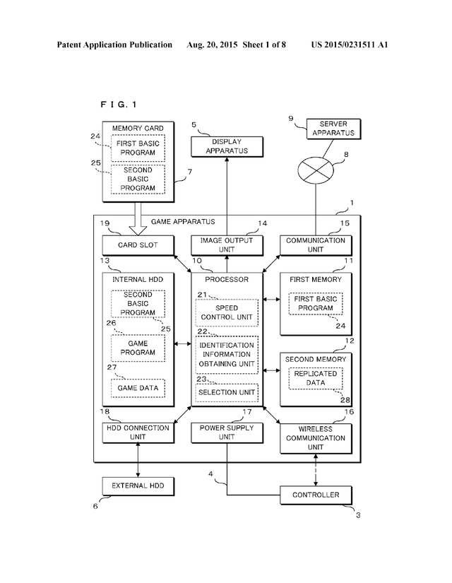
もともとこの申請は今年二月に提出されており、昨日になって公開されたもの。特許明細によると、この申請は『据置型ゲーム機、ゲーム機、ゲームシステム、記録媒体および速度制御方法』についてのものであり、『ディスプレイを有するコントローラ』及び『速度制御の処理』が含まれている。
『概要の注記(The abstract notes):
例示されたハードには、プログラムとデータを格納する内蔵HDD、ネットワークを介してプログラムを送受信する通信機能、HDDに格納されているプログラムを実行するCPUが含まれている。』
興味深いことにこの概要は『例示のハードは、光学ディスクからプログラムやデータを読み出すための光学ドライブは備えられていない』と記述されている。文書の後半には『(内蔵HDDは)ゲームプログラムやデータを格納することができる』と書かれている。これはつまり、NXはデジタル専用の最初のメジャーなコンソールになるということなのだろうか?
申請はまたサーバーから『ゲーム機』にゲームを配信する『高速通信』に触れており、この推定が外れていないことを確かに示している。(略)
図1でメモリカードスロットが強調されているのは注目すべき点だ。これが示しているのは、少なくとも、ネットへ接続せずにファームをアップデートするユーザ向けとしてメモリカードスロットが使われるということだ。



沒有留言:
張貼留言